基本信息
- 项目名称:
- 便携式漱口杯专利研究报告
- 来源:
- 第十二届“挑战杯”省赛作品
- 小类:
- 生命科学
- 大类:
- 科技发明制作B类
- 简介:
- 该实用新型设计一种日常生活用品,具体是涉及一种便携式漱口杯。针对目前生活中人们使用漱口杯的卫生问题做了调查,设计出这种便携式漱口杯,结构简单,使用方便,外形美观,清洁卫生。
- 详细介绍:
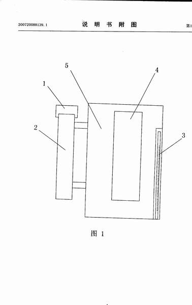
- 一、 技术原因: 现有的漱口杯功能单一,除了盛漱口液外,人们习惯于将牙膏和牙刷都置放在盛液的杯体内,这样,既不美观,又不卫生,且携带时不方便,现有的技术存在这样的漱口杯,即将盛水杯置于呈圆状的牙膏架中,使得牙刷、牙膏置放的位置与漱口杯分开。但这种漱口杯、牙膏仍暴露在外面,故容易造成灰尘和毒虫对漱口用具的污染。 本实用新型整体结构如图所示,便携式漱口杯,包括有杯体、杯盖和手把,所述的手把为带有上开口圆筒型,手把上设置有盖,所述的杯体上还设置有一陈放牙膏的空腔,所述的杯体上设置温度计,温度计的底端与杯体内壁底侧相连。温度计随时可以测水的温度,不至于烫着使用漱口杯的儿童。 二、 产品内容 发明目的 本实用新型涉及一种日常生活用品,具体涉及一种便携式漱口杯 技术特征 所属便携式漱口杯其结构简单,外形美观,使用方便,集存放牙刷、牙膏和盛水杯为一体 便携式漱口杯包括杯体、杯盖和手把,其特征在于所述的手把为带有上开口圆筒型,手把上设置有盖,所述的杯体上还设置有一陈放牙膏的空腔 按上述方案,所述的杯体上还设置温度计,温度计的底端与杯体内壁底侧相连。
作品专业信息
设计、发明的目的和基本思路、创新点、技术关键和主要技术指标
- 便携式漱口杯,包括有杯体、杯盖和手把,所述的手把为带有上开口圆筒型,手把上设置有盖,所述的杯体上还设置有一陈放牙膏的空腔,所述的杯体上设置温度计,温度计的底端与杯体内壁底侧相连。温度计随时可以测水的温度,不至于烫着使用漱口杯的儿童。该作品简单方便,便于使用。
科学性、先进性
- 该实用新型作品,便携式漱口杯结构简单,使用方便,外形美观,清洁卫生。具有较强的科学性,极大地便于人们日常生活,不同于其它的漱口杯。
获奖情况及鉴定结果
- 获得一项国家专利
作品所处阶段
- 已将作品构思出来,设计图形画出,处于半成品阶段。
技术转让方式
- 暂时无转让
作品可展示的形式
- 作品详细的介绍和图形
使用说明,技术特点和优势,适应范围,推广前景的技术性说明,市场分析,经济效益预测
- 所属便携式漱口杯其结构简单,外形美观,使用方便,集存放牙刷、牙膏和盛水杯为一体 便携式漱口杯包括杯体、杯盖和手把,其特征在于所述的手把为带有上开口圆筒型,手把上设置有盖,所述的杯体上还设置有一陈放牙膏的空腔 按上述方案,所述的杯体上还设置温度计,温度计的底端与杯体内壁底侧相连。 该作品适用于日常生活,使用方便,具有广泛的市场前景。
同类课题研究水平概述
- 同类便携式的产品在国内确实存在,但是该实用新型的便携式漱口杯在普通产品上又有了一定的提高,有一些必要的改变,将牙膏、牙刷和温度计同时与漱口杯形成一个整体,而且增加了一个盖子,可以避免灰尘进入杯内。有益效果在于:该实用新型结构简单,使用方便,外形美观,清洁卫生。更加便于人们日常生活的需要,因为这些的改进,慢慢的会得到广泛的使用。


