基本信息
- 项目名称:
- 液相扩散系数测量仪
- 来源:
- 第十二届“挑战杯”作品
- 小类:
- 机械与控制
- 大类:
- 科技发明制作A类
- 简介:
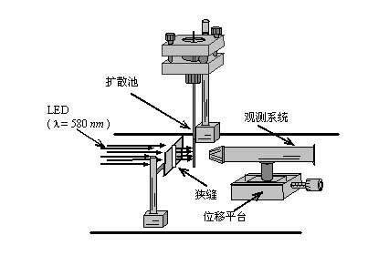
- 液相扩散系数是研究传质过程、计算传质速率及化工设计与开发的重要基础数据,本项目用透明毛细管构成液相扩散池,再利用毛细管成像法在液体折射率测量中的技术特点,即用实验方法研究液相扩散过程并测量液相扩散系数。具有以下技术优势:沿毛细管轴向的整个成像区域都可以实时采集折射率数据,液相扩散系数的测量精度高、速度快;用毛细管做扩散池,扩散样品需要量小;成像过程的抗环境干扰能力强,系统稳定性好。
- 详细介绍:
- 液相扩散系数是研究传质过程、计算传质速率及化工设计与开发的重要基础数据,已广泛应用在生物、化工、医学、及环保等新兴行业中。由于液体分子的平均间距远比气体分子小,又不及固体那样有规则排列,所以液相扩散系数的理论描述和实验测量远比气体及固体困难,不同体系的液相扩散数据相当缺乏。目前,液相扩散系数主要依靠实验方法获得,通过间接地测量溶液由于扩散过程形成的浓度随空间和时间的分布,根据描述扩散过程的Fick定律计算出液相扩散系数。从测量扩散过程中溶液浓度分布的实验方法来看,目前存在折射率测量、动态光散射测量、荧光分子示踪测量和放射性元素示踪测量等方法。广泛采用的是折射率测量方法,尤其以折射率测量中的全息干涉法的使用最为普遍。全息干涉法是普通干涉法与全息术结合的实验方法,测量精度高,但对实验装置的稳定性要求也很高。本项目就是用透明毛细管构成液相扩散池,再利用毛细管成像法在液体折射率测量中的技术特点,尝试用实验方法研究液相扩散过程并测量液相扩散系数。毛细管成像法测量液相扩散系数的基本思想,是利用其具有的折射率空间分布测量能力,直接测量出由于扩散过程造成的折射率沿毛细管轴向(定义为Z轴)的空间和时间分布{ni(Zi, ti), i =1,2,3,…},再由溶液折射率和浓度之间的关联式(可以用理论或实验方法确定),将{ni(Zi, ti), i =1,2,3,…}转化为溶液浓度沿毛细管轴向的空间和时间分布{Ci(Zi, ti), i =1,2,3,…}。用Fick第二定律结合实验数据{ Ci(Zi, ti), i =1,2,3,…}就可以计算出液相扩散系数。采用毛细管成像法测定液相扩散系数,可以期望具有如下技术优势:(1)沿毛细管轴向的整个成像区域都可以实时采集折射率数据,液相扩散系数的测量精度高、速度快;(2)用毛细管做扩散池,扩散样品需要量小;(3)和全息干涉法相比,成像过程的抗环境干扰能力强,系统稳定性好。我们相信,毛细管成像法在测定液相扩散系数中的成功应用,可以在液相扩散系数的测量方面,形成一种从基本测量方法到核心测量技术的完全自主知识产权。
作品专业信息
设计、发明的目的和基本思路、创新点、技术关键和主要技术指标
- 目的和基本思路:目前唯一能精确测量液相扩散系数的方法是激光全息干涉法,但无法达到空间分辨能力,为填缺此类空白而设计。 创新点:运用全新的测量原理和测量技术,实现折射率空间测量能力,动态研究液相扩散系数。主要表现在(1)沿毛细管轴向的整个成像区域都可以实时采集折射率数据,液相扩散系数的测量精度高、速度快;(2)用毛细管做扩散池,扩散样品需要量小;(3)和全息干涉法相比,成像过程的抗环境干扰能力强,系统稳定性好。 技术关键:两种液体对接和图像鉴别判断 主要技术指标:测量精度达到10-5 cm2.s-1。
科学性、先进性
- 与目前试验测量方法相比: 1具有折射率空间分布测量能力,能动态研究液相扩散过程; 2仪器能实现放射性微量样品扩散系数的测量; 3采用完全不同的测量原理。其中所涉及原理已申请国家发明专利2项,此方法也已申报相关专利;
获奖情况及鉴定结果
- 2011年5月于获“科技之光—★★大学学生科技节”课外学术科技作品竞赛科技发明制作类特等奖; 2011年6月参加第六届★★省高校青年学术科技节比赛获一等奖; 获专利两项,相关文章在《光学学报》、《光学精密工程》等发表。(见附件)
作品所处阶段
- 产品加工
技术转让方式
- 技术入股
作品可展示的形式
- 实物产品
使用说明,技术特点和优势,适应范围,推广前景的技术性说明,市场分析,经济效益预测
- 技术特点:动态观测液相扩散过程,测量精度满足 优势:测量速度快,能实现微量液体的测量,系统稳定,分析简单。 试验要求。可广泛应用于高校、科研机构、石油化工等行业。 本产品前期市场为:高等院校、科研机构 产品经济收益预测:实现产品化后能填补国内技术的空白,且易操作,测量精度高,收益可观。
同类课题研究水平概述
- 液相扩散系数是研究传质过程、计算传质速率及化工设计与开发的重要基础数据,已广泛应用在生物、化工、医学、及环保等新兴行业中。由于液体分子的平均间距远比气体分子小,又不及固体那样有规则排列,所以液相扩散系数的理论描述和实验测量远比气体及固体困难,不同体系的液相扩散数据相当缺乏。目前,液相扩散系数主要依靠实验方法获得,通过间接地测量溶液由于扩散过程形成的浓度随空间和时间的分布,根据描述扩散过程的Fick定律计算出液相扩散系数。从测量扩散过程中溶液浓度分布的实验方法来看,目前存在折射率测量、动态光散射测量、荧光分子示踪测量和放射性元素示踪测量等方法。广泛采用的是折射率测量方法,尤其以折射率测量中的全息干涉法的使用最为普遍。全息干涉法是普通干涉法与全息术结合的实验方法,测量精度高,但对实验装置的稳定性要求也很高。本项目就是用透明毛细管构成液相扩散池,再利用毛细管成像法在液体折射率测量中的技术特点,用实验方法研究液相扩散过程并测量液相扩散系数。




